Jiangsu Mechanical and Electrical Products Bearing Co., Ltd.

江苏省机电产品轴承有限公司

Jiangsu Mechanical and Electrical Products Bearing Co., Ltd.

江苏省机电产品轴承有限公司

ENG

中国人

Jiangsu Mechanical and Electrical Products Bearing Co., Ltd.

江苏省机电产品轴承有限公司

Model
Inner Diameter
Outer Diameter
Width

Catalogue

Catalogue

Spherical bearing

Lubricated radial spherical plain bearing / GEF...ES series

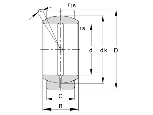
型号 主要尺寸(mm)
d D B C
GEF12ES  12 22 11 9
GEF15ES  15 26 13 11
GEF20ES  20 32 16 14
GEF22ES  22 37 19 16
GEF25ES  25 42 21 18
GEF30ES  30 50 27 23
GEF35ES 35 55 30 26
GEF40ES 40 62 33 28
GEF45ES 45 72 36 31
GEF50ES 50 80 42 36
GEF55ES 55 90 47 40
GEF60ES 60 100 53 45

page

1

2

Inquire Now